エスコの人気商品ランキング
-
160円(税抜)EA928AD-197 ウェットシ-ト(20枚) -
190円(税抜)160x80x45mm浴そう洗いスポンジ -
160円(税抜)EA928AD-196 EA928AB-196用ドライシ-ト30枚 -
265円(税抜)400ml スプレーボトル -
3,420円(税抜)4.0kg衣類用柔軟剤入洗剤(トップ・抗菌plus) -
210円(税抜)EA928AG-57A バススポンジ(ネット入) -
575円(税抜)140x200mm ポリ袋(チャック付/100枚) -
1,110円(税抜)EA922AL-3 排水口水切リネット(100枚) -
215円(税抜)EA928AG-56 ネット入スポンジ(3個) -
620円(税抜)EA928AJ-4 385mmトイレブラシ
最近チェックした商品
-
14,060円(税抜)リサイクルトナー LB320B -
930円(税抜)[EA580KA-20用]替刃(φ1.0mm用) -
2,220円(税抜)EA441DB-10 10x600mmアルミ丸棒(A2017) -
34,000円(税抜)Je引違い保管庫 JE-70S TBK D450 -
1,728円(税抜)再生色画用紙 4ツ切100枚 おうどいろ -
8,700円(税抜)300x100mm高輝度蓄光式避難誘導標識 -
23,300円(税抜)天板 MST-900RT -
22,800円(税抜)IH炊飯ジャー 1升炊き NW-VB18-TA -
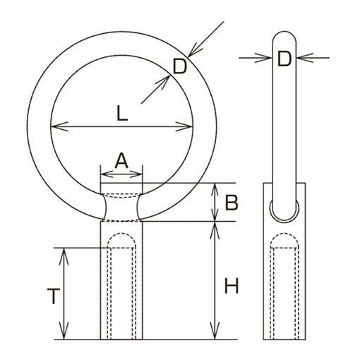
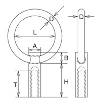
1,730円(税抜)M8x35mmリングナット(ステンレス製)















